Skip to main content

State of the Art - Novel InFlow Tech - Featured Project Development; 1-Gearturbine, 2-Imploturbocompressor

Submitted by retrodynamic on

 

1-GEARTURBINE PROJECT

Rotary-Turbo-InFlow Tech

Atypical InFlow Thermodynamic

Technology Proposal Submission

Novel Fueled Motor Engine Type

*State of the art Innovative concept Top system Higher efficient percent.*Power by bar, for Air-Planes, Sea-Boats, Land-Transport & Dynamic Power-Plant Generation.

-Have similar system of the Aeolipile Heron Steam device from Alexandria 10-70 AD. -New Form-Function Motor-Engine Device. Next Step, Epic Design Change, Broken-Seal Revelation. -Desirable Power-Plant Innovation.

YouTube; * Atypical New • GEARTURBINE / Retrodynamic = DextroRPM VS LevoInFlow + Ying Yang Thrust Way Type - Non Waste Looses

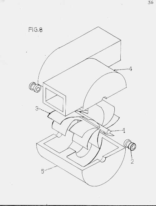
-This  innovative concept consists of hull and core where are held all 8 Steps of the work-flow which make the concept functional. The core has several gears and turbines which are responsible for these 8 steps (5 of them are dedicated to the turbo stages). The first step is fuel compression, followed by 2 cold turbo levels. The fourth step is where the fuel starts burning – combustion stage, which creates thrust for the next, 5th step – thrust step, which provides power to the planetary gears and turbines and moves the system. This step is followed by two hot turbo steps and the circle is enclosed by the final 8th step – bigger turbine. All this motion in a retrodynamic circumstance effect, wich is plus higher RPM speed by self motion. The Reaction at front of the action.

 

*8-X/Y Thermodynamic CYCLE - Way Steps:

1)1-Compression / bigger

2)2-Turbo 1 cold

3)2-Turbo 2 cold

4)2-Combustion - circular motion flames / opposites

5)2-Thrust - single turbo & planetary gears / ying yang

6)2-Turbo 2 hot

7)2-Turbo 1 hot

8)1-Turbine / bigger

 

-With Retrodynamic Dextrogiro vs Levogiro Phenomenon Effect. / Rotor-RPM VS InFlow / front to front; "Collision-Interaction Type" - inflow vs blades-gear-move. Technical unique dynamic innovative motion mode. [Retrodynamic Reaction = When the inflow have more velocity the rotor have more RPM Acceleration, with high (XY Position) Momentum] Which the internal flow (and rotor) duplicate its speed, when activated being in a rotor (and inflow) with [inverse] opposite Turns. The Reaction at front of the action. A very strong Novel torque power concept.-Non waste parasitic looses for; friction, cooling, lubrication & combustion.

-Shape-Mass + Rotary-Motion = Inertia-Dynamic / Form-Function Wide [Flat] Cylindrical shape + positive dynamic rotary mass = continue Inertia positive tendency motion. Kinetic Rotating Mass. Tendency of matter to continue to move. Like a Free-Wheel.

-Combustion 2Two continue circular [Rockets] flames. [ying yang] opposite one to the other. – With 2TWO very long distance INFLOW [inside propulsion] CONDUITS. -4 TURBOS Rotary Total Thrust-Power Regeneration Power System. -Mechanical direct 2two [Small] Planetary Gears at polar position. -Like the Ying Yang Symbol/Concept.

-The Mechanical Gear Power Thrust Point Wide out the Rotor circumference were have much more lever [HIGH Torque] POWER THRUST. -No blade erosion by sand & very low heat target signature profile. -3 points of power thrust; 1-flow way, 2-gear, 3-turbine. *Patent; Dic. 1991 IMPI Mexico #197187 All Rights Reserved. Carlos Barrera.

 

———————————————----------------------··························

 

·2-IMPLOTURBOCOMPRESSOR; One Moving Part System Excellence Design - The InFlow Interaction comes from Macro-Flow and goes to Micro-Flow by Implossion - Only One Compression Step; Inflow, Compression and outflow at one simple circular dynamic motion Concept.

*·“Excellence in Design" because is only one moving part. Only one unique compression step. Inflow and out flow at the same one system, This invention by its nature a logic and simple conception in the dynamics flow mechanics area. The invention is a wing made of one piece in a rotating motion, contained in a pair cavity system connected by implocavity, and interacting dynamically with a flow, that passes internally "Imploded" through its simple mechanism. This flow can be gas (air) or liquid (water). And have two different applications, in two different form-function; this one can be received (using the dynamic flow passage, as a receiver). Or it can be generated (with a power plant, generating a propulsion).

An example cut be, as a Bike needs a chain to work from motor to wheel. And for the Imploturbocompressor application, cut be as; in a circumstance at the engine, as an A-activate flow, and with a a tube flow conduit going to the wheel as a B-receiving-flow the work use.

To see a Imploturbocompressor animation, is posible on a simple way, just to check the Hurricane Satellite view, and is the same implo inflow way nature.

And when the flow that is received and that is intended to be used at best, must no necessarily by a exhausting or rejection gas, but must be a dynamic passing gas or liquid flow with the only intention to count it or to measure it. This could be possible at the passing and interacting period when it passes inside its simple mechanism. This can be in any point of the work flow trajectory.

In case the flow that is received is a water falling by gravity, and a dynamo is placed on the rotary bar, the Imploturbocompressor can profit an be obtained by generating? electricity such as obtained by the pelton well, like I say before. The "Imploturbocompressor", is a good option to pump water, or a gas flow, and all kinds of pipes lines dynamic moves. 

Or only receive the air-liquid flow, in order to measure its passage with a counter placed on the bar, because when this flow passes through the simple mechanism of a rotating wing made of only one piece it interacts within the implocavities system. And this flow can be air wind, with the difference of can have an horizontal work position, and that particle technical circumstances make an easy way for urban building work new use application, and have wind flow from all the sides 180 grades view. The aforementioned information about this invention refers to technical applications, such as a dynamic flow receiver. (whether being gas or liquid).

With the appropriate power plant and the appropriate dimensioning and number of RPM this invention is also feasible to generate an atmospheric air propulsion and the auto-propulsion of an aircraft. Being an effective and very simple system that implodes and compresses the atmospheric air permits the creation of a new concept of propulsion for aircrafts, due to its simple mechanism and innovative nature. At the place of the aircraft were the system appears and the manner how the propulsion direction can be oriented with a vectorial flow (no lobster tail) with I call "yo-yo system" (middle cut (at the shell) to move, one side loose), guided and balanced is feasible to create a new concept of TOVL-vertical take-off landing, Because the exhaust propulsion can going out radial in all the 360 vectorial positions, going out direct all the time in all the vectors direction. With his rotor cover for an better furtive fly, like going down of a bridge for example.

Likewise, with the due form and dimensioning, and considering the liquid density and the due revolutions for this element there could be generated a propulsion (water) in order to move an aquatic ship, whether on surface or under water. Also can be a good option to pump liquid combustion for a rocket propulsion.

Making a metaphoric comparison with the intention to expose it more clearly for a better comprehension of this innovative technical detail, it would be similar to the trajectory and motion of a dynamic flow compared with a rope (extended) that passes through the system would have now a knot (without obstructing the flow), so the complete way of the flow at the imploturbocompresor system have three direct ways and between make two different turns; direct way (entrance) - turn - direct way (implocavity) - turn - direct way (exit), all this in a 1 simple circular move system concept.

Its prudent to mention that the curves and the inclinations of the blades of a rotating wing made of this invention, is conferred by its shape and function a structural rigidity allowing it to conduct and alter appropriately the dynamic flow passing through its system. L8352 W1273 <(^_^<).

Attachment Size
Gearturbine Next Step Detail Engineering Evolution isometric all parts Draw 25.12 KB
Gearturbine Lateral Cut Technical Draw.jpg 58.93 KB
Gearturbine Periodico El Norte Newspaper.jpg 62.84 KB
Gearturbine Periodico El Norte Newspaper.jpg 13.82 KB
Gearturbine Inside Rotor Conduits Turbo Compression Steps.jpg 61.12 KB
Gearturbine 8-XY Thermodynamics Flow Steps.jpg 15.83 KB
Imploturbocompressor Isometric Draw.jpg 19.31 KB
Imploturbocompressor front cut.jpg 17.44 KB
Imploturbocompressor A and B. %22A%22 as a receiver, and %22B%22 as a generator.jpg 14.21 KB
Imploturbocompressor Other side A and B. %22A%22 as a receiver, and %22B%22 as a generator.jpg 14.48 KB
Imploturbocompressor top view cut.jpg 15.74 KB
Imploturbocompressor receiver flow.jpg 13.56 KB
Imploturbocompressor Active Flow.jpg 13.92 KB
Gearturbine Center of the rotor.jpg 83.22 KB
Gearturbine Isometric Rotor parts.jpg 87.49 KB
Gearturbine Shell - Quiver.jpg 81.63 KB
Gearturbine Inside the active rotor.jpg 79.51 KB
Gearturbine Technical Draw Center of the Rotor.jpg 49.38 KB
Gearturbine Technical Draw lateral Cut .jpg 53.09 KB
Gearturbine Technical Draw More Rotor Parts .jpg 58.44 KB
Gearturbine Technical Draw Rotor Parts .jpg 50.38 KB
Gearturbine Technical Draw Rotor.jpg 35.86 KB
Gearturbine Muy Interesante Magazine Centerfold from year IX no.10 : 1992 %0AScientific magazine.jpg 65.83 KB
Gearturbine Muy Interesante 2. Scientific magazine.jpg 84.57 KB
Gearturbine Muy Interesante 3 Scientific magazine.jpg 88.66 KB
Gearturbine Muy Interesante 4 Scientific magazine.jpg 102.01 KB
Imploturbocompressor view from the top.jpg 10.4 KB
Imploturbocompressor front view.jpg 11.33 KB
Imploturbocompressor front cut at the midle.jpg 21.6 KB
Imploturbocompressor side view.jpg 10.67 KB
Imploturbocompressor side view midle cur.jpg 15.42 KB